Hi guys,
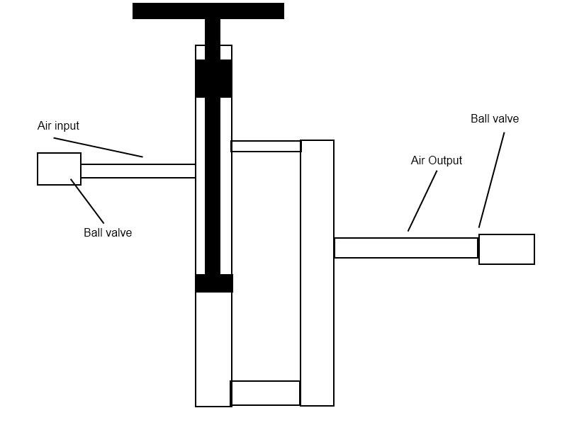
After browsing the Forum for topics about homemade pumps, I came up with the idea of a pump that could some higher pressures, because a little part of the pressure in the "Chamber" is used to press the pump down which helps at higher pressures one couldn't archieve by hand. Think the pic attached could work? the part between the pump and the chamber would need another BV I didn't draw and ofc the lower connection would be a onewayvalve
Homemade HP pump
- The_Guerilla_Guy
- Private 2

- Posts: 33
- Joined: Sun Dec 05, 2010 6:55 am
- Attachments
-
- Homemade HP Pump.png (9.59 KiB) Viewed 2828 times
There are so many assholes - and so few bullets
Flawed plan.
Push the pump piston down and all you're going to get is the air flowing back behind it.
The air pressure will not only be pushing downward but upward as well = no gain and a huge amount of dead space.
Push the pump piston down and all you're going to get is the air flowing back behind it.
The air pressure will not only be pushing downward but upward as well = no gain and a huge amount of dead space.
Agreed with Hotwired. If you want high pressures, your best bet is probably just a small-diameter two-stage. But don't let me discourage you from coming up with designs... you may very well hit on something that allows the air pressure produced by pumping to assist. I've got a few ideas bopping around in my head now from that design...
EDIT: Would this work? Assuming that the black rectangles at the top of the pump are seals, and that the pump head has a floating o-ring like the ones on Tech's pistons, not a normal pump head.

EDIT: Would this work? Assuming that the black rectangles at the top of the pump are seals, and that the pump head has a floating o-ring like the ones on Tech's pistons, not a normal pump head.

- Gaderelguitarist
- Corporal

- Posts: 580
- Joined: Sat Aug 16, 2008 9:56 pm
- Location: Columbia, MD
- Contact:
That "static high pressure" area would vent to be atmospheric before you even began pumping. Even if you found a way to seal off an air assist line, it would still deplete into the air being pumped into the compression chamber by the piston head, by virtue of the floating o-ring.
so many muchness
I understand how the section of high pressure could leak to atmospheric, but vent? Explain...
Okay, so maybe a floating o-ring isn't such a great idea
. But a normal o-ring would probably work...
Okay, so maybe a floating o-ring isn't such a great idea
TBH the original plan looks like it was hoping for a free lunch in the slaving-over-the-pump department but no such luck.
However it is entirely possible to use a hand pump (or any pump that can deal with the pressure) to further pump and compress pre-compressed air, that is a saving of work as long as you are not personally doing both stages of compression.
For example, you feed your hand pump 150psi from your workshop compressor and then squish it to say 300psi, very doable.
I'm aware of fridge compressors round here being daisy chained so the output of one feeds the input of the next so the second has less work to do reaching a higher pressure.
However it is entirely possible to use a hand pump (or any pump that can deal with the pressure) to further pump and compress pre-compressed air, that is a saving of work as long as you are not personally doing both stages of compression.
For example, you feed your hand pump 150psi from your workshop compressor and then squish it to say 300psi, very doable.
I'm aware of fridge compressors round here being daisy chained so the output of one feeds the input of the next so the second has less work to do reaching a higher pressure.
I was under the impression that chaining them together just increased the air flow.. i.e takes less time to fill something up.. What do you mean by "has to do less work" ?I'm aware of fridge compressors round here being daisy chained so the output of one feeds the input of the next so the second has less work to do reaching a higher pressure.
Unless you let the pressure build up (to the maximum possible that the pump will do) you will only see a flow increase.more_eggs wrote:I was under the impression that chaining them together just increased the air flow
And I mean if you feed the output of fridge compressor 1 to the input of fridge compressor 2 and then start pressurising a sealed container it will reach a higher pressure than if one was acting alone.
We had a member here who had a claim of 1800psi with three pumps chained together. No one disputed his claim, had pictures and a video but about half the replies he got were to flame him due to poor written communication and stereotyping.
I've managed to basically double the output pressure by linking two compressors in series, but also with increased flow.
Nothing as crazy as 1800psi, but a single compressor reaches about 510psi, in series they make it just past 1000psi, in very little time.
My original plan was to use a fridge compressor with a buffer cylinder feeding air into a balanced small cross section pump, but then just got lazy as I already have 1000psi available.
Nothing as crazy as 1800psi, but a single compressor reaches about 510psi, in series they make it just past 1000psi, in very little time.
My original plan was to use a fridge compressor with a buffer cylinder feeding air into a balanced small cross section pump, but then just got lazy as I already have 1000psi available.
- The_Guerilla_Guy
- Private 2

- Posts: 33
- Joined: Sun Dec 05, 2010 6:55 am
I know it has some mistakes in it, but I kinda like the idea. I'll work on it some more in the future. I'll update the post when I have made a nice animation of it 
There are so many assholes - and so few bullets
Create an account or sign in to join the discussion
You need to be a member in order to post a reply
Create an account
Not a member? register to join our community
Members can start their own topics & subscribe to topics
It’s free and only takes a minute
Sign in
-
- Similar Topics
- Replies
- Views
- Last post
-
- 7 Replies
- 6320 Views
-
Last post by Mitchza89
-
- 15 Replies
- 8612 Views
-
Last post by schmanman
-
- 4 Replies
- 1530 Views
-
Last post by ALIHISGREAT
-
- 6 Replies
- 3038 Views
-
Last post by dongfang
-
- 7 Replies
- 2141 Views
-
Last post by Bluetooth





