airsfot machine gun
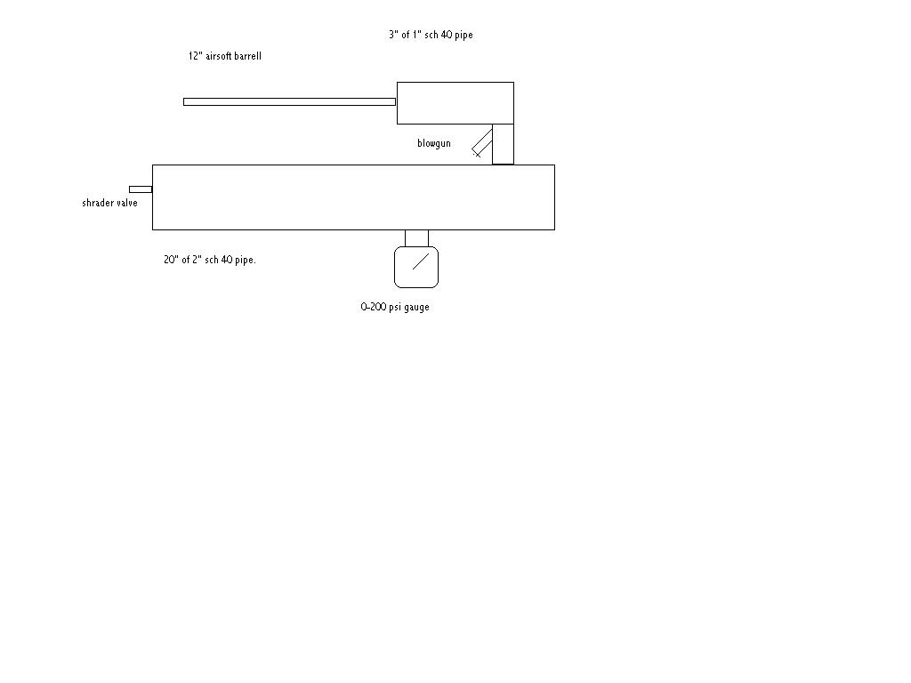
ive got a design that i came up with in math class last thursday, tell me what you think and give me some constructive critisim. this gun is for plinking soda cans from semi close range
in the upcoming presidential election, there will be several candidates who will be running, one of whom is Hillary Clinton. Now WAIT A SECOND!!! I though there was some sort of rule that prevented someone from serving more than two terms in office. Vote Against Hillary: Presidential Elections 08
- jrrdw
- Moderator


- Posts: 6572
- Joined: Wed Nov 16, 2005 5:11 pm
- Location: Maryland
- Has thanked: 39 times
- Been thanked: 22 times
- Contact:
Machine guns arn't for plinking. You can wipe out a hole line of cans with a machine gun. The term plinking is tided with snipers/crack shots/little Annie Oakly, (don't laugh, she was one of the best shots in her era), basicly, sharp shooting. If you wan't to make a airsoft machine gun, fasten your barrel to a 2 liter soda bottel, put a air hole in the bottem, fill with ammo, hook up the air, pull the trigger and watch them fly. Build it like a pneumatic cannon with a chamber and fire short burst to make the air last and for mobility, and flip your friends out, don't tell them you have it the next time you and buddies have it out, when thier not looking, whip it out and go for the quick win. YOU WILL BE THE AIRSOFT GOD AMONG YOUR FRIENDS WITH A MACHINE GUN!
Hows that for some quick thinking. You do relize my idea is copied from bbmg's.
Hows that for some quick thinking. You do relize my idea is copied from bbmg's.
my point with this is to be able to walk a good distance away from the compressor. when i said plinking, i ment just shooting in my backyard, not actually airsofting. the reason i made it with a blowgun is so i could use controlled bursts
in the upcoming presidential election, there will be several candidates who will be running, one of whom is Hillary Clinton. Now WAIT A SECOND!!! I though there was some sort of rule that prevented someone from serving more than two terms in office. Vote Against Hillary: Presidential Elections 08
Create an account or sign in to join the discussion
You need to be a member in order to post a reply
Create an account
Not a member? register to join our community
Members can start their own topics & subscribe to topics
It’s free and only takes a minute
Sign in
-
- Similar Topics
- Replies
- Views
- Last post
-
- 18 Replies
- 21730 Views
-
Last post by Flying_Salt
-
- 13 Replies
- 5785 Views
-
Last post by psycix
-
- 3 Replies
- 1912 Views
-
Last post by Demon
-
- 14 Replies
- 3928 Views
-
Last post by WOW!!
-
- 17 Replies
- 9581 Views
-
Last post by jackssmirkingrevenge


